米兰体育app官网入口

集团动态

一车一码见实效 安全便捷见成效——市公务车平台信息化管理迈向新台阶

时间:2022-05-25浏览: 次作者:张美玲来源:盐城市富通汽车服务有限公司(公务用车平台、出租车服务中心)

返回列表

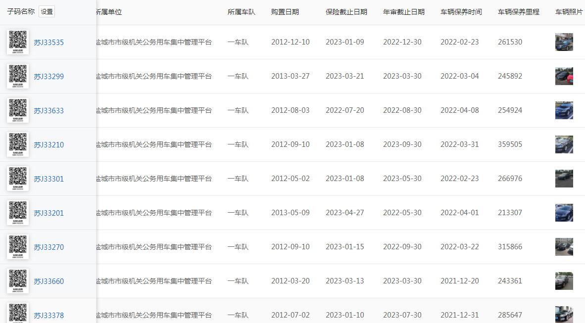
市公务用车有了“身份证”,车辆信息一目了然了。近期,公务车平台创新工作模式,利用“二维码”信息获取功能,建立了“一车一码”车辆管理制度,每辆公务用车都拥有了专属“二维码身份证”。

1653461818(1).jpg

通过扫取车辆所属“二维码”,即可查询车辆基本信息(包含车牌号、车辆型号、车架号等)、车辆保险、年审、维修保养记录等情况。有了这个“一车一码”,平台管理人员可在后台随时随地查看车辆状态,实现智慧车辆安全监管,有效避免车辆出现过审、过保等情况发生;司勤人员可随时扫码,掌握车辆信息,记录维修保养情况,及时跟进处理车辆问题,从源头上杜绝安全风险隐患;用车人员可随时扫码查看车辆车龄、车辆保养等情况,让用车单位更放心、更舒心。同时平台利用后台数据分析功能,根据相关车辆信息记录分析研判,对存在的问题及时落实整改,实现闭环管理。

723497762679569280.jpg

200197951865245287.jpg

过去:

车辆基本情况、车辆保险情况、年审记录每次检查都需翻阅证件,维修保养记录需查询台账资料。

 现在:

实现了查看车辆基本情况、车辆保险情况、年审记录、维修保养记录,“码”上见效。

“一车一码”进一步提高了公务用车管理信息化水平,是平台精细化管理的重要举措,是公务车辆管理由平面制度升级为立体系统的具体呈现。平台将按照不遗漏、全覆盖的要求,全面推进公务用车“一车一码”管理工作。截至目前,平台共印制车辆专属二维码284张,并张贴至对应的公务保障、执法执勤等车辆前挡风玻璃处。

$%X573OQ$X3[}U0C@CS$VI5.png


志行千里者,不中道而辍足。下一步,平台将以交投集团“运营管理提升年”为契机,进一步打破思想禁锢,激活工作思路,用锲而不舍、驰而不息的劲头,踏石留印、抓铁有痕的态度,干在实处、走在前列,为集团高质量发展贡献平台力量。